- Universitat de València (20%)
- Universitat Politècnica de València (80%)
- Gimenez Romero, David
- PDI-Titular d'Universitat
- Miguel Alcañiz Fillol
- Rafael Masot Peris
- Patricia Silvestre Noguera Murray
- Nuria Pastor Navarro
Nowadays, the identification of a pathogen is not a simple task. In order to obtain valid results, a procedure involving different phases must be carried out over several days.
In pathogen determination, label-free biosensors are used, which are classified, depending on the type of transducer, into reagent-based and reagent-free platforms. These traditional reagent-free platforms include optical technologies (such as SPR surface plasmon resonance), optical interference, gravimetry (e.g., quartz crystal microbalance (QCM) and electrochemistry. However, SPR and QCM biosensors are expensive, which limits their widespread use.
RLC (Resistor-Inductor-Capacitor) sensors are sensitive to materials that alter the magnetic field of the inductor, which is exploited to detect the proximity of metallic objects or materials (e.g., in metal detectors, traffic lights and a number of automated industrial processes).
Although RLC sensors in solution can detect disturbances in magnetic fields, there is no solution that can detect organic systems (such as bacteria or viruses) not bound to magnetic particles, at low cost and with high robustness. This gap in technology is what the invention seeks to address.
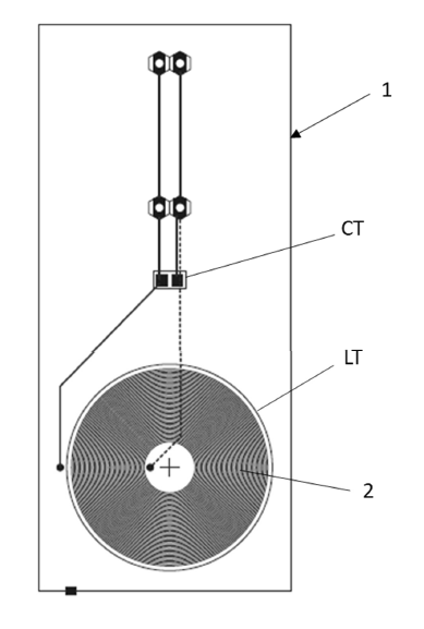
Researchers from the Universitat de València have developed a novel analyte detection system that allows detection by means of an LC circuit. The detection system bases the detection on changes that occur in the electrical permittivity in the vicinity of an inductor of the LC circuit, due to the formation of a recognition complex between the analyte and a receptor on the surface of the inductor. The formation of these complexes modifies the parasitic capacitances of the inductor and, consequently, the resonant frequency of the LC circuit.
The system of the invention makes use of the parasitic capacitances of the inductors to accurately detect analytes. Such analytes are specifically recognized by the receptors attached on the inductor surface of the LC circuits.
The detection mechanism of the proposed transducer is based on the use of the inter-spin parasitic capacitances of the inductor of the LC circuits (inductance-capacitor), i.e. the modification of the dielectric constant of the medium, for the detection and monitoring of analytes such as bacteria and viruses and other chemical species.
The invention has a wide range of applications in various fields, thanks to its ability to detect specific analytes quickly, economically and accurately in the field of drug resistance detection of microorganisms; in the field of clinical monitoring; in the forensic field; in the food industry; in the environmental field; or also in the field of pesticides and plant pathogens.
The main advantages are as follows:
- Detection without physical contact.
- Low cost and high robustness.
- Label-free detection of analytes.
- High sensitivity and specificity.
- Applications in different media (gases and liquids).
- Ability to detect a wide range of pathogens.
- Possibility of integration with wireless systems.
- Versatility in detection formats (test strips and lateral flow).
- Rapid detection and without the need for prior training.
- Patent granted
Blasco Ibáñez Campus
C/ Amadeu de Savoia, 4
46010 València (València)










