- Universitat de València (20%)
- Universitat Politècnica de València (80%)
- Gimenez Romero, David
- PDI-Titular d'Universitat
- Miguel Alcañiz Fillol
- Rafael Masot Peris
- Patricia Silvestre Noguera Murray
- Nuria Pastor Navarro
Actualment, la identificació d'un patogen no és tasca senzilla. Per a l'obtenció de resultats vàlids, s'ha de realitzar un procediment que implica diferents fases al llarg de diversos dies.
En la determinació de patògens, s'utilitzen biosensors sense etiquetes (label-free) que es classifiquen, segons el tipus de transductor, en plataformes amb reactius i plataformes sense reactius. Aquestes plataformes tradicionals sense reactius inclouen tecnologies òptiques (com la ressonància de plasmons de superfície SPR), interferència òptica, gravimetria (ex., microbalança de cristall de quars (QCM) i electroquímica. No obstant això, els biosensors SPR i QCM són costosos, la qual cosa limita el seu ús generalitzat.
Els sensors RLC (Resistor-Inductor-Capacitor) són sensibles a materials que alteren el camp magnètic de l'inductor, la qual cosa s'aprofita per a detectar la proximitat d'objectes o materials metàl·lics (per exemple, en detectors de metalls, semàfors i una sèrie de processos industrials automatitzats).
Encara que els sensors RLC en dissolució poden detectar alteracions en camps magnètics, no existeix una solució que permeta detectar sistemes orgànics (com a bacteris o virus) no lligats a partícules magnètiques, a un cost baix i amb alta robustesa. Aquest buit en la tecnologia és el que la invenció busca abordar.
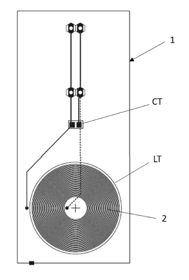
Personal investigador de la Universitat de València ha desenvolupat un nou sistema de detecció d'anàlits que permet la detecció mitjançant un circuit LC. El sistema de detecció basa la detecció en canvis que es produeixen en la permitivitat elèctrica en els voltants d'un inductor del circuit LC, degudes a la formació d'un complex de reconeixement entre l'anàlit i un receptor sobre la superfície de l'inductor. La formació d'aquests complexos modifica les capacitàncies paràsites de l'inductor i, en conseqüència, la freqüència de ressonància del circuit LC.
El sistema de la invenció fa ús de les capacitats paràsites dels inductors per a detectar de mode precís anàlits. Aquests anàlits són reconeguts específicament pels receptors units sobre la superfície de l'inductor dels circuits LC.
El mecanisme de detecció del transductor proposat es fonamenta en l'ús de les capacitats paràsites inter-espires de l'inductor dels circuits LC (inductància-condensador), és a dir la modificació de la constant dielèctrica del mitjà, per a la detecció i monitoratge dels anàlits com ara bacteris i virus i altres espècies químiques.
La invenció té una àmplia gamma d'aplicacions en diversos camps, gràcies a la seua capacitat per a detectar anàlits específics de manera ràpida, econòmica i precisa en l'àmbit de la detecció de resistència a fàrmacs de microorganismes; en àmbit del monitoratge clínic; en el camp forense; en la indústria alimentària; en l'àmbit mediambiental; o també en l'àmbit dels plaguicides i patògens vegetals.
Es detallen els principals avantatges:
- Detecció sense contacte físic.
- Sota cost i alta robustesa.
- Detecció d'anàlits sense etiquetes.
- Alta sensibilitat i especificitat.
- Aplicacions en diferents mitjans (gasos i líquids).
- Capacitat per a detectar una àmplia gamma de patògens.
- Possibilitat d'integració amb sistemes sense fils.
- Versatilitat en els formats de detecció.
- Detecció ràpida i sense necessitat de formació prèvia.
- Patent concedida
Campus de Blasco Ibáñez
C/ Amadeu de Savoia, 4
46010 València (València)










